Рубрика: Топливная система

Безопасная заправка автомобиля газом: Подробное руководствоБезопасная заправка автомобиля газом: Подробное руководство

Хотите безопасно и выгодно заправлять авто газом? Узнайте все секреты правильной газовой заправки, чтобы избежать проблем и сэкономить деньги! Газовая заправка - это просто!

Пружинный двигатель для автомобиля: Реальность или утопияПружинный двигатель для автомобиля: Реальность или утопия

Автомобиль на пружине? Узнайте, насколько реален пружинный двигатель и какие перспективы он открывает для автопрома! Альтернативное топливо уже здесь!

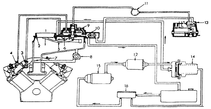
Топливная система Mercedes-Benz: устройство, принципы работы и обслуживаниеТопливная система Mercedes-Benz: устройство, принципы работы и обслуживание

Узнай все о топливной системе Mercedes-Benz! Как она работает, чтобы твой "Мерс" летал, а не "ел" бензин ведрами? Разбираем секреты, обслуживание и частые поломки.

Почему автомобиль потребляет 20 литров газа на 100 км: причины и решенияПочему автомобиль потребляет 20 литров газа на 100 км: причины и решения

Расход газа 20 литров на 100 км – это много! Узнайте, почему ваш автомобиль "ест" пропан как не в себя и как это исправить. Экономьте топливо и нервы!

Незнайка и газированный автомобиль: Увлекательное приключение в Цветочном городеНезнайка и газированный автомобиль: Увлекательное приключение в Цветочном городе

Незнайка из Цветочного города изобрёл чудо-автомобиль на газировке! Узнайте, как он и друзья отправились в уморительное путешествие на этом транспорте!

Штраф за парковку на газоне: как избежать и что делать?Штраф за парковку на газоне: как избежать и что делать?

Заехал на газон? Узнай, какие штрафы светят за парковку на газоне и как не разориться! Сохраним зелень города вместе! Советы для водителей.

Как многодетной семье получить ГазельКак многодетной семье получить Газель

Мечтаете о Газели для вашей большой семьи? Узнайте о госпрограммах, льготах и способах получить автомобиль мечты! Газель - ваш шанс!

Устройство, принцип работы и обслуживание тормозной системы автомобиляУстройство, принцип работы и обслуживание тормозной системы автомобиля

Тормозная система – твой ангел-хранитель на дороге! Узнай, как она работает, чтобы избежать аварий и продлить жизнь авто. Все о тормозах здесь!

Штрафы за незаконную установку и эксплуатацию ГБОШтрафы за незаконную установку и эксплуатацию ГБО

Думаешь об экономии с ГБО? Узнай о штрафах за незаконную установку! Избеги проблем и катайся спокойно. Все о законной установке ГБО здесь!

Как определить цвет автомобиля ГАЗельКак определить цвет автомобиля ГАЗель

Загорелись желанием узнать цвет своей ГАЗели? Не знаете, где искать код краски? Мы раскроем все секреты! Подбор цвета ГАЗель - это просто!